neprihlásený Nedeľa, 12. apríla 2026, dnes má meniny Estera
Microsoft získal patent na vypínanie operačného systému

DSL.sk, 2.9.2010


Spoločnosti Microsoft bol udelený americký patent na proces vypínania operačného systému.

Patent s číslom 7 788 474 s názvom "Operating system shut down" bol zverejnený v utorok, spoločnosť si žiadosť o patent podala 30. augusta 2005.

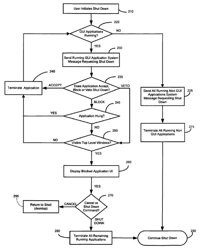
Predmetom patentu je spôsob, ako z užívateľského pohľadu vypnúť operačný systém v závislosti na bežiacich aplikáciách a upozorniť užívateľa na aplikácie blokujúce vypínanie OS.

Patent popisuje ako po inicializácii vypnutia požiada operačný systém každú aplikáciu o ukončenie. Aplikácie, ktoré nemajú grafické užívateľské rozhranie a nevypnú sa po upozornení operačného systému samé, OS po uplynutí voliteľného časového intervalu ukončí.

Ak aplikácia má grafické užívateľské rozhranie a na požiadanie o vypnutie nezareaguje respektíve odmietne ukončenie operačného systému, reakcia OS závisí na existencii viditeľného okna aplikácie. Ak aplikácia okno nemá, aplikáciu vypne, ak okno má, OS zobrazí užívateľské rozhranie umožňujúce aplikácie ukončiť nasilu alebo vypnutie OS zrušiť.

Zväčšiť
Schéma patentovaného procesu vypínania operačného systému, kliknite pre zväčšenie (schéma: Microsoft)



Microsoft si podal žiadosť o patent v čase sprístupnenia prvých oficiálnych testovacích verzií Windows Vista, v ktorých sa patentovaný "spôsob vypínania OS" zrejme využíva.

Znenie patentu je možné nájsť na freepatentsonline.com.



Najnovšie články:

Samojazdiaca funkčnosť Tesly povolená v EÚ
Veľmi významná zmena v DVB-T opäť bez dostatočného avíza, druhý multiplex prejde do DVB-T2
Alza s otvorením novej predajne na Slovensku inú zavrela
V európskej časti lode Orion uniká hélium, posádku a pristátie Artemis II to nemá ohroziť
FreeBSD odštartovalo projekt testovania kompatibility notebookov
Alza otvára na Slovensku novú predajňu, pri novom veľkom sklade
Konkurent Starlinku od Amazonu má odštartovať v polovici roka
Automobilka Škoda vyvinula zvonček na bicykel, ktorý prekoná ANC v slúchadlách
Microsoft deaktivoval účty vývojárov významných open source softvérov, nemá ísť o zámer
Sci-fi o alternatívnych vesmíroch od Apple začne v auguste


Diskusia:
                               
 

patent na meno spolocnosti spojene z dvoch slov
Odpovedať Známka: 7.7 Hodnotiť:
 

patent na meno spoločnosti zložené z n alfanumerických alebo punkčných znakov
Odpovedať Známka: 7.3 Hodnotiť:
 

Ja si dam urobit patent nato ako chodim na zachod.
Odpovedať Známka: 8.0 Hodnotiť:
 

ja si dam urobit patent na patent
Odpovedať Známka: 0.0 Hodnotiť:
 

vo Viste je to jedna z najdolezitejsich funcii... :-)
Odpovedať Známka: 9.0 Hodnotiť:
 

...debilizmus
Odpovedať Známka: 3.9 Hodnotiť:
 

vsak sa liec.
Odpovedať Známka: 0.9 Hodnotiť:
 

To teraz ziadnemu OS, nemoze vyskocit hlaska, ze sa vypina operacny system, ci chcem zrusit aplikaciu?

Nemal to uz windows XP?
Odpovedať Známka: 9.0 Hodnotiť:
 

Tak hlášku "System is shutting down" prepíšem na "System terminating" alebo pod.
Odpovedať Známka: 10.0 Hodnotiť:
 

Alebo proste iKill Your System Now!
Odpovedať Známka: 9.4 Hodnotiť:
 

Až budete nabudúce vypínať Windows, spomente si, ako je komplikované takéto vypnutie. Možno je to dôvod, prečo to niekedy trvá aj niekoľko minút.
Odpovedať Známka: 10.0 Hodnotiť:
 

a to este nehovorime o zapnuti sys.! Ten moj nabieha aj 15min.
Odpovedať Známka: 3.3 Hodnotiť:
 

Na vine je uzivatel
Odpovedať Známka: 3.7 Hodnotiť:
 

Vo vine je pravda.
Odpovedať Známka: 9.5 Hodnotiť:
 

...vino je v uzivatelovi...
Odpovedať Známka: 10.0 Hodnotiť:
 

hah uz som sa dobre davno takto nepobavil :D ...thumbs up!
Odpovedať Známka: 4.0 Hodnotiť:
 

vine je v linuxe
Odpovedať Známka: 6.9 Hodnotiť:
 

.... wine....
Odpovedať Hodnotiť:
 

Preto treba zvazit, ci ho vobec vypinat... :-)
Odpovedať Známka: 8.9 Hodnotiť:
 

Preto treba zvazit, ci ho vobec zapinat!
Odpovedať Známka: 8.4 Hodnotiť:
 

no to si píš, že je to zložité.. prečo to asi patentovému úradu trvalo 5 rokov, pokiaľ to všetko overil a potvrdil?
Odpovedať Známka: 9.3 Hodnotiť:
 

vobec patentovy urad schvalil tuto ziadost...lebo patentovat takuto sprostost navyse neviem ale nevypina sa takto kazdy OS ? to mi pripomina uz fakt tie ftipy ze patentujem si koleso a kazdy mi bude platit za nic...absurdita...
Odpovedať Známka: 9.4 Hodnotiť:
 

koleso ani zivot sa bohuzial patentovat (este) nedaju. :)
Odpovedať Známka: 10.0 Hodnotiť:
 

Koleso uz patentovane bolo. Jeden Australsky pravnik vyuzil dieru v systeme. :D Ale Michelin mu za to poplatky neplatil. Akurat zmenili patentovy system aby sa takato konina nedala patentovat. Ak MS ide o zrusenie SW patentov tak takyto patent je velmi vitany.
Odpovedať Známka: 8.7 Hodnotiť:
 

Microsoft si chcel pred niekolkými rokmi nechať patentovať aj dvojklik, ale ten mu nepovolili. Našiel si asi niečo lepšie.

Dúfam, že si nechal patentovať dĺžku vypínania - aj niekolko minút.
Odpovedať Známka: 10.0 Hodnotiť:
 

Pokial viem Dvojklik ma tusim patentovany IBM.
Odpovedať Známka: 8.8 Hodnotiť:
 

"nevypina sa takto kazdy OS ?"

Skus si to v Bubuntu. Pri dalsom starte sa ta vsetky aplikacie spytaju, ze WTF, chcete obnovit zostrelenu session?
Odpovedať Známka: 1.7 Hodnotiť:
 

ty uz si doma zo skoly? okraje mas porobene?
Odpovedať Známka: 4.3 Hodnotiť:
 

MS Windows, jediný OS s patentovaným vypínaním.
Odpovedať Známka: 9.5 Hodnotiť:
 

Je ťažké konkurovať pri tak veľkom počte retardovaných spoločností a ich patentoch [apple ftw! :-)], ale tak snažia sa držať krok chlapci z Mikrošrotu.
Odpovedať Známka: 7.7 Hodnotiť:
 

apple patentuje ako hovno v hajzloch ich spločnosti a patentuje aj to čo bolo pantetované, len to inak nazvú
Odpovedať Známka: 9.1 Hodnotiť:
 

Apple patentuje uspavanie OS. Potom som zvedavy ako budem na linuxe riesit odchod z prace :D
Odpovedať Známka: 8.7 Hodnotiť:
 

ostava jedina moznost: powerfailure
Odpovedať Známka: 8.7 Hodnotiť:
 

Az na to, ze ked v otvorenej aplikacii odmietnete zatvorenie v dialogu, windows nepokracuje vo vypinani...
Odpovedať Známka: 5.4 Hodnotiť:
 

Tiez som si podal patent na zatvaranie dveri. Ked chcem standartne zavriet dvere poziadam frajerku nech ich zavrie. Ked odmietne alebo nema privetive pouzivatelske rozhranie tak musim dvere zavriet sam.... No a ked mi toto patentuju nikdo si uz dvere zadara nezavrie!!! Sv**e jednie nebudete sa prizivovat na mojom intelektualnom vlastnictve!!!
Odpovedať Známka: 10.0 Hodnotiť:
 

Sa mylis, ze nikto nebude mocz zavriet dvere, len ich nebude moct zavriet tvojim debilnym sposobom....
Odpovedať Známka: -5.6 Hodnotiť:
 

vidis melisko to vyriesil tym ze povie...zavar tie dvere :D..a uz ich neotvori nik :D
Odpovedať Známka: 6.0 Hodnotiť:
 

Ja si dam patentovat moj sposob srania (ktory tu opisovat nechcem), a ti co nezaplatia nech ich roztrhne.
Odpovedať Známka: 8.6 Hodnotiť:
 

serem na teba, ja budem warezit...
Odpovedať Známka: 9.4 Hodnotiť:
 

Máš problém. Keď budeš chcieť otvoriť tie dvere, vysolíš mne :-)
Odpovedať Známka: 7.5 Hodnotiť:
 

Ale problém máte obaja, pretože ak budete chcieť dvere, vysolíte mne :)
Odpovedať Známka: 8.9 Hodnotiť:
 

No brzdi, problem mas aj ty, petoze ked budes chciet material na tie dvere, tak vysolis najprv ty mne :)
Odpovedať Známka: 8.8 Hodnotiť:
 

Kuš, dovolil som ti tú klávesnicu?
Odpovedať Známka: 6.7 Hodnotiť:
 

Ako sa tak na vás pozerám, tak si dám asi patentovať patentovanie...
Odpovedať Známka: 8.8 Hodnotiť:
 

smola.. uz mam patentovanu myslienku na patentovanie patentovania.. plat!
Odpovedať Známka: 7.1 Hodnotiť:
 

Ja mam patentovane myslenie :P.
Odpovedať Známka: 8.3 Hodnotiť:
 

Tak si páni odmyslite písmeno A, pretože už je v mojom vlastníctve!
Odpovedať Známka: 8.2 Hodnotiť:
 

Tk s dj vypcht
Odpovedať Známka: 8.3 Hodnotiť:
 

ked chcete preblem stece zepletet mneeee...
Odpovedať Známka: 3.3 Hodnotiť:
 

ty: zavri dvere
frajerka: zavri si sam
ty: sudo zavri dvere
frajerka: OK

Odpovedať Známka: 8.7 Hodnotiť:
 

Tieto linuxacke vtipy mi nikdy neprisli vtipne.
Odpovedať Známka: -6.3 Hodnotiť:
 

Co znamena ten SUDO? :)
Odpovedať Známka: -6.4 Hodnotiť:
 

ked pred prikaz das sudo mas prava ako admin. Samozrejme, ze musis zadat aj heslo.

BTW aj taky Mac OS X od Apple pouziva v prikazovom riadku sudo takze to nie je Linuxacky ale Unixacky vtip. ;) FSCK you. :D
Odpovedať Známka: 10.0 Hodnotiť:
 

ked nezavrie frajerka, zavrie sudo (najskor domaci pes)...
Odpovedať Známka: 8.6 Hodnotiť:
 

Oooo, niekto ma frajerku ;)
Odpovedať Známka: 8.7 Hodnotiť:
 

dokonca dve voal ich ospalka a honilka
Odpovedať Známka: 7.5 Hodnotiť:
 

anča dlaňová
Odpovedať Známka: 7.1 Hodnotiť:
 

Niekto tu hral Mafiu II
Odpovedať Známka: 0.0 Hodnotiť:
 

Väcsiu hovadinu som nepocul. Na toto by patenty urcite platit nemali. ALe takno USA...
Odpovedať Známka: 8.5 Hodnotiť:
 

tak si patentujem robenie deti a potom bude koniec srandy...
:D
Odpovedať Známka: 8.9 Hodnotiť:
 

to uz maju patentovane cigani...
Odpovedať Známka: 9.4 Hodnotiť:
 

ee podla mna to robia nacierno - ako vacsinu veci...
Odpovedať Známka: 9.6 Hodnotiť:
 

okrem roboty, tu nerobia vobec
Odpovedať Známka: 10.0 Hodnotiť:
 

a da sa s vypnutym OS tlacit cez wifi vo velkom kancli?
Odpovedať Známka: -0.6 Hodnotiť:
 

Nie, lebo neprides po hotovy papier.
Odpovedať Známka: 9.1 Hodnotiť:
 

Otazne je, ci sa da vypnut OS, ktory prave tlaci cez WiFi vo velkom kancli a co sa stane s papierom, ktory nestihne byt vytlaceny skor, ako sa OS pocas tlacenia vypne.
Odpovedať Známka: 8.3 Hodnotiť:
 

Myslis operacny system PDAcka, WiFi routra alebo tlaciarne? Alebo vsetky naraz? :)
Odpovedať Známka: 10.0 Hodnotiť:
 

staci ak vyriesia aby OS vzdy bez problemv nabootoval aj po nekorektnom vypnuti. Potom ho staci len odpojit z elektriky. Asi si to dam rychlo patentot=t :-D
Odpovedať Známka: 10.0 Hodnotiť:
 

FreeDOS?
Odpovedať Známka: 10.0 Hodnotiť:
 

Toto si priam vyžadovalo patent !
http://tinyurl.com/ygw4sf7
Odpovedať Známka: 8.5 Hodnotiť:
 

Nemohli si patentovať tvrdý RESET?
Odpovedať Hodnotiť:
 

To mi pripomina ked som mal Vistu. Nastal problem a na pocudovanie sa mi dole ukazala bublina, ze sa naslo riesenie. A riesenie bolo:Nenaslo sa ziadne riesenie. A pritom texte bolo vyrazne zobrazene NEW! :)
Odpovedať Známka: 10.0 Hodnotiť:
 

300 bodov
Odpovedať Hodnotiť:
 

Morreeee ta uz sa nebude dat vypnut linux?... to bude uptime....bo patentizacia prebehla?....

Odpovedať Známka: 10.0 Hodnotiť:
 

linux sa bude nadalej vypinat pomocou "init 0" :P
Odpovedať Známka: 10.0 Hodnotiť:

Pridať komentár